山东ld体育网址-ld体育欢迎你有限公司
联系人:李经理
联系电话:13276363035
QQ:867220900
公司地址:山东省潍坊市高新区光电路155号光电产业加速器(一期)
PRODUCT
联系人:李经理
联系电话:13276363035
QQ:867220900
公司地址:山东省潍坊市高新区光电路155号光电产业加速器(一期)
产品型号:TH-WQX5B
产品品牌:云境天合
更新时间:2026-04-30
一、负氧离子传感器产品简介
山东ld体育网址-ld体育欢迎你有限公司作为专业研发生产销售微型气象仪的企业,一直致力于微型气象仪和气象环境解决方案推广应用。具有完整的生产链、实力雄厚的技术团队和全面的营销团队,我们研发生产的超声波风速风向仪、五要素微气象仪、六要素微气象仪和小型自动气象站等气象产品,已广泛应用到气象监测、城市环境监测、风力发电、航海船舶、航空机场、桥梁隧道等领域,客户遍布全国各地,并取得了良好的社会效益和经济效益。
TH-WQX5B型负氧离子传感器创新性地将负氧离子、空气温度、湿度、PM2.5、PM10等气象要素通过一个高集成度结构来实现,可实现户外气象参数24小时连续在线监测,通过数字量通讯接口将五项参数一次性输出给用户。
二、负氧离子传感器产品特点
1、抗干扰能力强,具有看门狗电路,自动复位功能,保证系统稳定运行
2、高集成度,无移动部件,零磨损
3、免维护,无需现场校准
4、采用ASA工程塑料室外应用常年不变色
5、产品设计输出信号标配为RS485通讯接口(MODBUS协议);可选配232、USB、以太网接口,支持数据实时读取☆
6、可选配无线传输模块,最小传输间隔1分钟
7、探头为卡扣式设计,解决了运输、安装过程松动不准的问题☆
三、负氧离子传感器技术参数
1)负氧离子:0~10万个/cm3,(读数±10%;离子迁移率≤±20%);
2)空气温度:-40℃~85℃(±0.3℃);
3)空气湿度:0~100%RH(±2%RH);
4)PM2.5:0-1000ug/m3(±15%)
5)PM10:0-1000ug/m3(±15%)
6)生产企业具有ISO9001质量管理体系认证和计算机软件注册证书
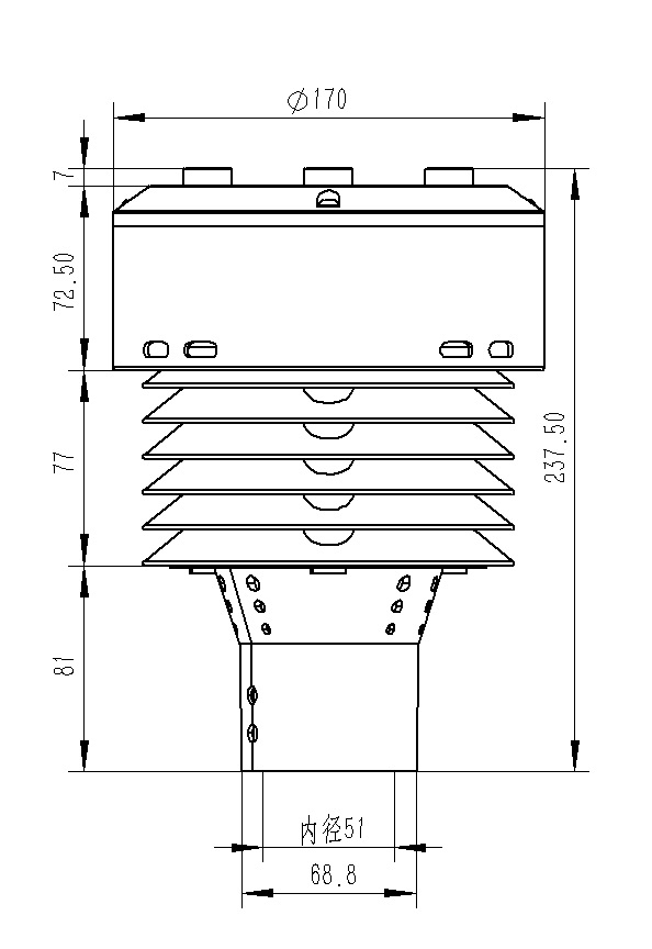
四、负氧离子传感器产品尺寸图

五、负氧离子传感器产品结构图

六、负氧离子传感器产品接线定义
定义 | 备注 | |
VCC | 电源正 | DC12V |
GND | 电源地 | |
485A | RS485A | |
485B | RS485B |
本文网址:https://www.ytqxz.com/qixiang/329.html